第1種衛生管理者:H24年下期:問19
問19
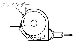
局所排気装置のフードの型式の名称とその模式図の組合せとして、誤っているものは次のうちどれか。
選択肢
解説
正解:5.外付け式スロット型
「作業環境管理:局所排気装置:局所排気装置の基本的構成」に書かれています。
外付け式スロット型とは「フードの開口面を細くし、吸引風速を高めたもの」とあり、グラインダーなどはありません。よって誤りなので、この問いの正解になります。
※この解説は、当サイト独自の見解によります。この内容について、中央労働災害防止協会等の関係機関に問い合わせても、解答は得られません。
サイト内検索
- 新着
- 模擬テストに第2種衛生管理者R5年度上期を追加しました。
- 模擬テストに第1種衛生管理者R5年度上期を追加しました。
- 模擬テストに第2種衛生管理者R4年度下期を追加しました。
- 模擬テストに第1種衛生管理者R4年度下期を追加しました。
- 模擬テスト
- 傾向と対策
- 第1種衛生管理者
- R5年上期
- R4年下期
- R4年上期
- R3年下期
- R3年上期
- R2年下期
- R2年上期
- R1年下期
- R1年上期
- H30年下期
- H30年上期
- H29年下期
- H29年上期
- H28年下期
- H28年上期
- H27年下期
- H27年上期
- H26年下期
- H26年上期
- H25年下期
- H25年上期
- H24年下期
- H24年上期
- H23年下期
- H23年上期
- H22年下期
- H22年上期
- H21年下期
- H21年上期
- H20年下期
- H20年上期
- H19年下期
- H19年上期
- H18年下期
- H18年上期
- H17年下期
- H17年上期
- H16年下期
- H16年上期
- 第2種衛生管理者
- R5年上期
- R4年下期
- R4年上期
- R3年下期
- R3年上期
- R2年下期
- R2年上期
- R1年下期
- R1年上期
- H30年下期
- H30年上期
- H29年下期
- H29年上期
- H28年下期
- H28年上期
- H27年下期
- H27年上期
- H26年下期
- H26年上期
- H25年下期
- H25年上期
- H24年下期
- H24年上期
- H23年下期
- H23年上期
- H22年下期
- H22年上期
- H21年下期
- H21年上期
- H20年下期
- H20年上期
- H19年下期
- H19年上期
- H18年下期
- H18年上期
- H17年下期
- H17年上期
- H16年下期
- H16年上期
- ホーム
【 更新日: 2013-4-14】
